1616634 POMPE GP-PISTON Pièces Caterpillar 416C, 426C, 428C, 436C, 438C POMPE
GOilmax propose des pièces détachées de rechange pour les pelles CATERPILLAR, les chargeuses sur pneus, les tombereaux articulés, les chargeuses compactes, les chargeuses compactes sur chenilles.
Pièces couvertes : solénoïdes, pompes à essence, démarreurs, alternateurs, pompes à eau, radiateurs, injecteurs, pompes à injection, pièces hydrauliques, manettes, turbos, joints de culasse, courroies, filtres, capteurs, etc.
Veuillez envoyer une demande pour obtenir plus de détails sur les pièces. Si vous ne trouvez pas les pièces que vous souhaitez, veuillez nous contacter.

Pièces pour votre CHARGEUSE-PELLETEUSE 436C :
TRAITERPILIER SIS
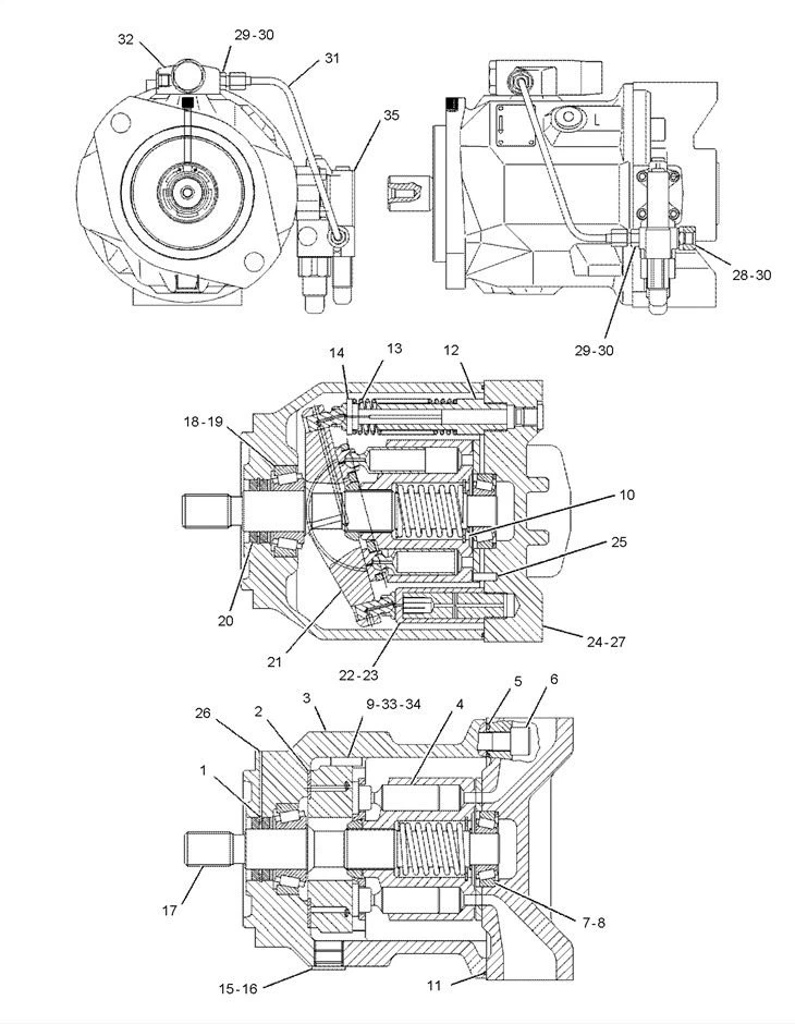
Pos. | Numéro de pièce | Qté | Nom des pièces |
1. | 6E-3343 | [1] | BAGUE |
2. | 6E-4003 | [2] | PALIER |
3. | 173-0637 | [1] | LOGEMENT-POMPE |
4. | 120-5726 Y | [1] | POMPE GP ROTATIVE |
5. | 3E-6769 | [4] | JOINT TORIQUE (DI 17MM) |
6. | 095-9805 M | [4] | TÊTE DE BOULON À DOUILLE (M14X2X40-MM) |
7. | 1P-6872 | [1] | CUVE |
8. | 8C-7110 | [1] | ROULEMENT CONIQUE |
9. | 103-5520 | [1] | CARRIER-PIN |
10. | 6E-4000 B | [1] | ENTRETOISE (25,5X35X3-MM ÉPAISSEUR) |
11. | 3E-6770 | [1] | JOINT TORIQUE |
12. | 6E-6175 | [1] | CYLINDRE |
13. | 6E-6176 | [1] | LE PRINTEMPS |
14. | 6E-6174 | [1] | PISTON |
15. | 9S-8006 | [1] | PRISE (7/8-14-THD) |
16. | 2M-9780 | [1] | JOINT TORIQUE |
17. | 162-1604 | [1] | ARBRE D'ENTRAÎNEMENT |
18. | 6V-2323 | [1] | ROULEMENT CONIQUE |
19. | 3B-5790 | [1] | CUVE |
20. | 6E-4004 | [2] | JOINT D'ARBRE |
21. | 173-0639 | [1] | PLATEAU CYCLIQUE COMME |
22. | 120-5727 | [1] | PISTON-COMMANDE |
23. | 120-5729 | [1] | GUIDE-PISTON |
24. | 136-8423 | [1] | PLUG-BREAK OFF |
25. | 083-4419 | [1] | BROCHE |
26. | 173-0641 | [1] | BOUCHON-FILTRE |
27. | 173-0638 | [1] | TÊTE DE POMPE |
28. | 103-5522 | [1] | ADAPTATEUR COMME |
3J-7354 | [1] | JOINT TORIQUE | |
29. | 3J-7352 | [2] | CONNECTEUR |
30. | 3J-7354 | [3] | JOINT TORIQUE |
31. | 193-8648 | [1] | TUBE COMME |
32. | 103-5519 Y | [1] | VANNE GP-COMMANDE DE POMPE (COMPENSATEUR DE PUISSANCE) |
33. | 6V-5683 M | [1] | BOULON (M6X1X16-MM) |
34. | 3C-8388 | [1] | PIN-ROLL |
35. | 173-0640 Y | [1] | VANNE GP-COMMANDE DE POMPE (PRESSION, |
étiquette à chaud: 161-6634 pompe à piston, Chine, fournisseurs, fabricants, usine, sur mesure, vente en gros, achat, devis, fabriqué en Chine











